Глоток свободы: в США заключенные смогут совершить виртуальное путешествие на волю | |
![]() Фото: EPA/UPG VR-система сделает возможными виртуальные свидания, однако каждый сеанс будет строго контролироваться.
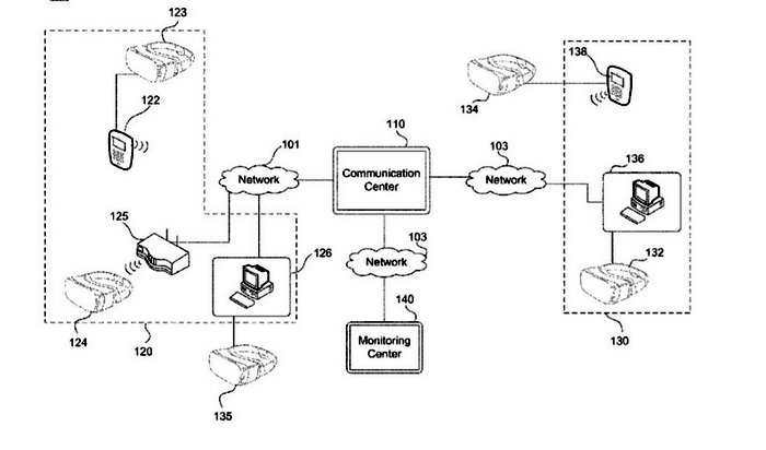
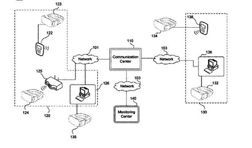
Корпорация Global Tel Link запатентовала систему виртуальной реальности, которую планируют установить в тюрьмах. Об этом пишет издание Motherboard. Global Tel Link обеспечивает американские тюрьмы телефонной связью и другими технологиями, которые позволяют осужденным общаться с близкими людьми или развлекаться с помощью планшетов во время отбывания наказания. В описании разработчики отметили, что их VR-система позволит заключенным на короткое время почувствовать себя за пределами исправительных учреждений. "В контролируемой среде, такой как исправительное учреждение, заключенные имеют ограниченные возможности для взаимодействия с внешним миром. Зачастую они только общаются с близкими, просматривают веб-сайты, взаимодействуют с определенным контентом, но эти возможности ограничиваются камерой, таймингом и пр.", — говорится в документе. Проект предусматривает установку оборудования для проведения персонализированных сеансов виртуальной реальности в "контролируемой среде". Его можно будет использовать для взаимодействия с другими пользователями вне тюрьмы. Вполне вероятно, что таким образом Global Tel Link планирует проводить виртуальные посещения. Согласно патенту, система будет хранить профили заключенных и "персонализировать" сеансы на основе их предпочтений. Устройство сможет отправлять информацию о действиях пользователей в специальный мониторинговый сервис. Пока неизвестно, будет ли Global Tel Link внедрять виртуальную реальность в какой-либо из своих продуктов. Представители компании отказались комментировать журналистам Motherboard этот момент, а вот общественная организация Electronic Frontier Foundation (EFF) прокомментировала патент. По мнению старшего технолога Купера Куинтина, технология только лишь ухудшит процесс общения между заключенными и их близкими, потому что надзиратели смогут пристально следить за ними при помощи упомянутой системы мониторинга. "Патент на технологию, заменяющую личные встречи виртуальной реальностью, раскрывает конечную цель компании — посредничество во всех взаимодействиях между заключенными и внешним миром, и при этом дает возможность получить еще несколько долларов от заключенных и их близких", — добавил он. | |
|
16.06.2022 в 15:05 821 IT | |
| Комментариев: 0 | |

